2.149 DKK
Kampagnen løber indtil
Weblager Lev norm inden 2-6 dage
Lagersaldo i butikkenDobbelttjek lagerbalancen med din butik
  • Kolding Lev norm inden 2-6 dage
  • Århus Lev norm inden 2-6 dage

Produktinformation

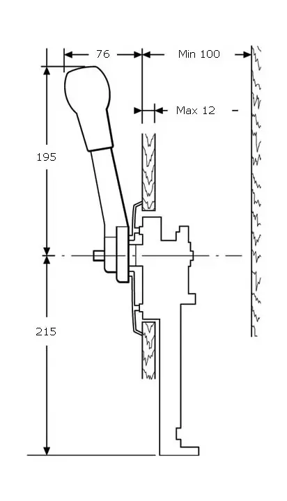
700SS.

Seastar Solutions sidemonteret enhåndsregulering med to funktioner til indfældning med dråbeformet greb. Anbefalet for montering i sejlbåde.

Mekanisk enhåndsregulering til påhængsmotorer og indenbords med hydrauliske backslag. I sortimentet findes det sidemonterede og topmonterede regulering som er specielt udformet til motorbåde, sejlbåde og arbejdsbåde. Enhåndsregulering kaldes også gear-gas regulering, de har nemlig den fordel at er greb manøvrerer både gear og gas. Ved installation med dobbelte motorer er det to greb der manøvrerer hver sin motor. En sikkerhedsfaktor med enhåndsregulering er at risikoen for at sætte den i gear med et for højt omdrejningstal er elimineret.

• 700SS regulering til sejlbåde

• Sidemonteret og indfældet

• klarer 30-serien gear/gaskabler

Indfæstning kvadratisk 75mm